特色功能

公有云|私有云
离线一键安装
多语言切换
餐饮洗浴酒店一体化
BS+CS+本地库

同一款软件既支持SaaS的公有云和私有云,也支持离线一键安装。后台为BS,前台为CS,支持多语言灵活切换,且能细分为显示语言和打印语言。

1

双击此处添加文字

2

常规场景

3

1

特色场景

公众号点餐、餐桌码点餐、堂食、外卖、预订、报餐

建立供应商资料
实现库存进出存功能
查询库存相关报表

支持中餐、快餐模式的快速切换,操作流程方便快捷,并且支持与客房系统的无缝对接

库存管理


会员管理

资料管理

营销管理


软件模块

基础资料/餐桌信息/菜品信息
用户管理/支付方式管理

涉及餐饮大多数管理功能模块


消费机管理


支持菜品买赠、特价、折扣等促销方案的实现
自由模式、定额、卡类异价、时段限次、菜单模式、无PC直连云端,有PC连接线下

管理会员储值、积分、代金券

微信点餐

挂账单位

前台管理


对挂账单位进行额度设置
挂账账务生成与结算
挂账报表查询

支持公有云/私有云/OEM

纯云端部署,客户端有浏览器就能使用


SaaS部署

支持微信、点菜宝、平板、消费机等方式快速消费


应用场景

产品概述

可通过移动设备登录后台进行数据管理


支持多元化酒店管理,可实现餐饮客房的无缝对接,为不同的客户提供灵活的解决方案


产品结构图

产品为纯BS结构,客户端无需部署,减少代理商服务量


访问方式

在信息化高速发展的当下,手机点餐将是绝大多数消费者出行的首选点餐模式,齐云餐饮管理系统V8全面支持微信点餐和微信会员

顾客模块结构图


  • 关注公众号
  • 微信会员
  • 手机充值

微信点餐不需要关注公众号,就能扫码进入,同时也支持把点餐连接添加到微信公众号,实现通过微信公众号进行点餐结账等操作

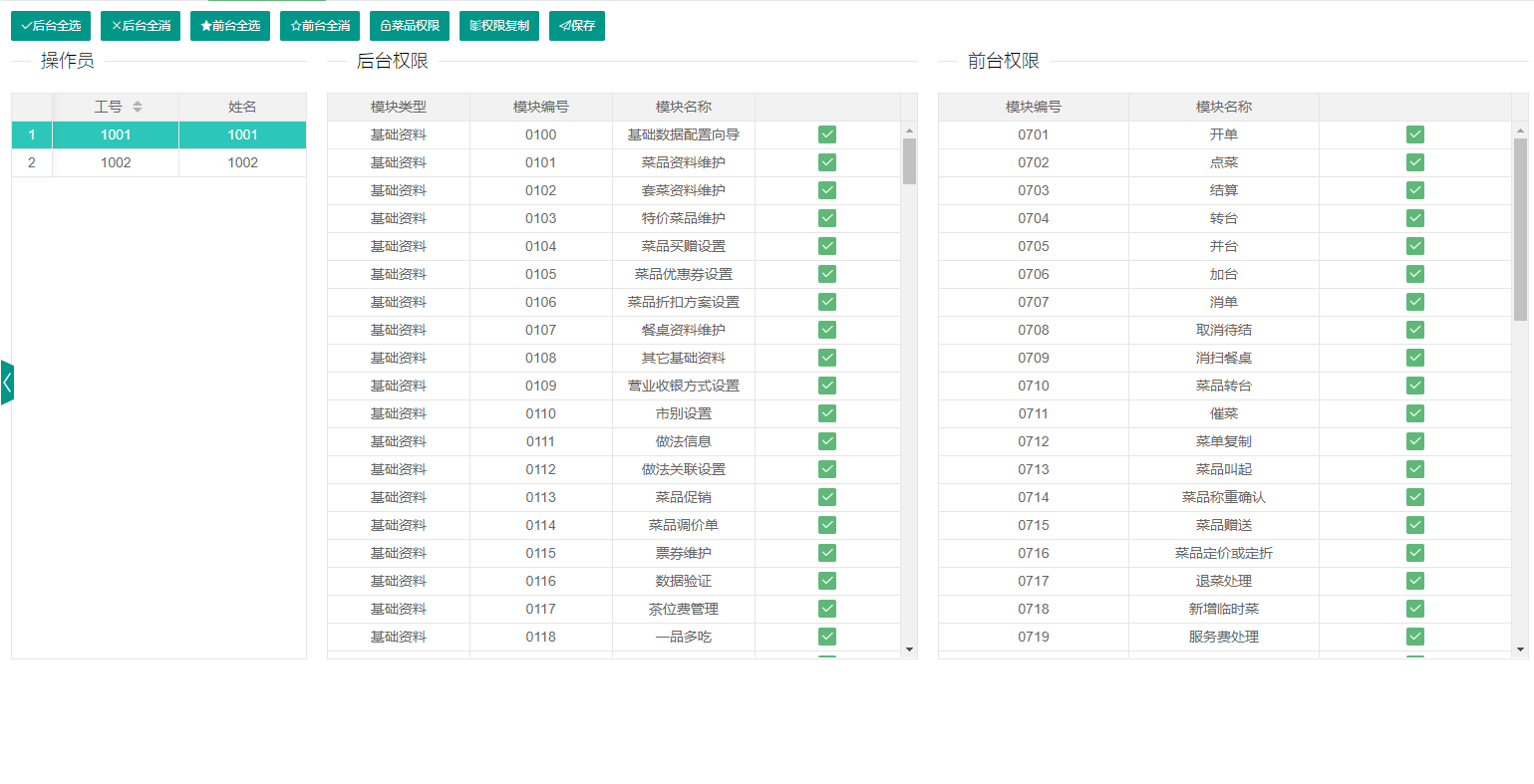
权限管理


  • 角色权限
  • 用户权限
  • 手机充值
  • 授权

可对权限进行分组,相同等级的人权限相同

会员方案


  • 折扣方案
  • 自动升级
  • 功能多样化
  • 批量充值

可支持会员的批量充值

前台管理


  • 快速检索台位
  • 台位的多功能操作
  • 开台押金

可通过键盘快速检索台位开台点菜


菜品资料设置


  • 多样化
  • 原料信息快速匹配
  • 多规格
  • 提成设置

可根据实际需求,设置菜品的属性,诸如称重,时价等等


日营业分析报表


报表从多个维度来分析数据,包含单数、人数、菜类,支付方式等数据